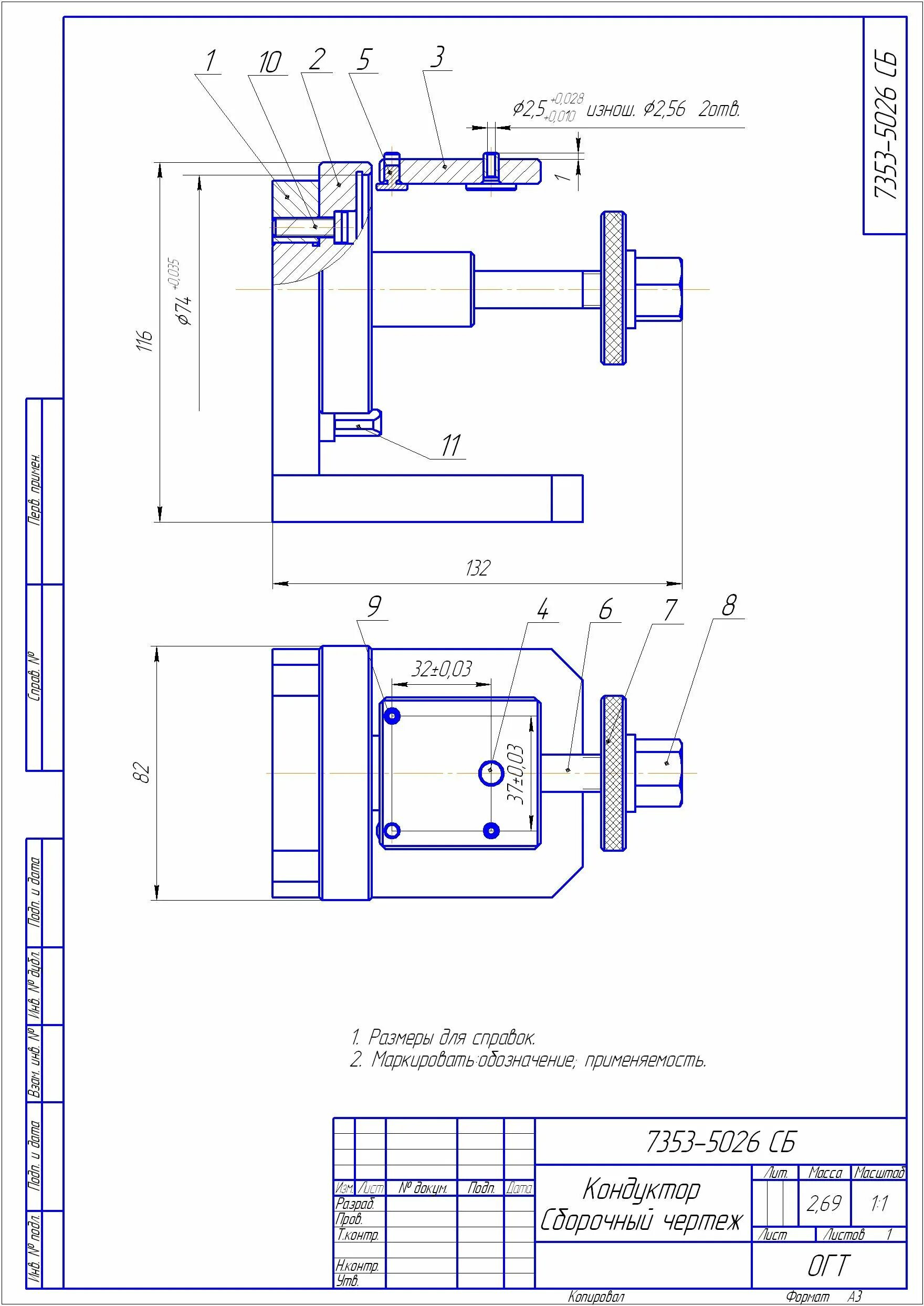
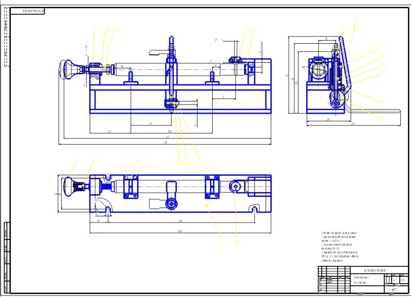
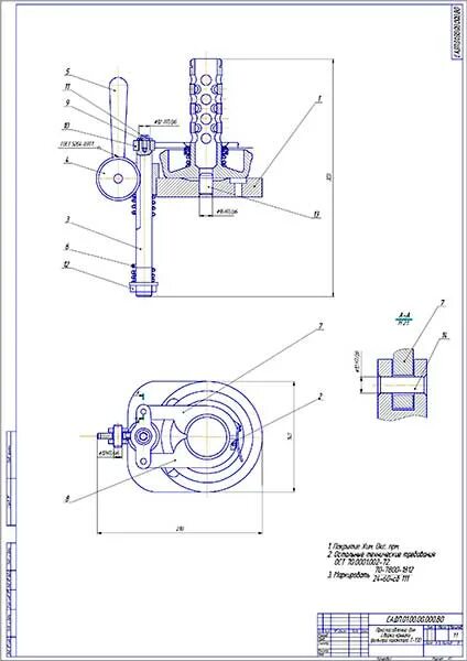
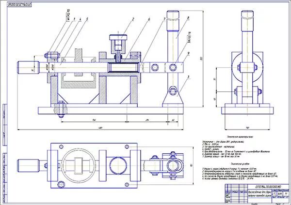
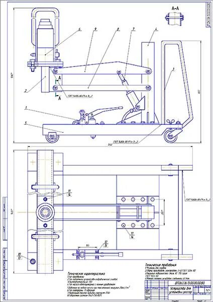
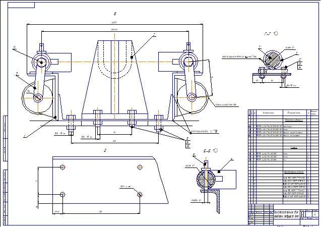
Общий вид приспособления