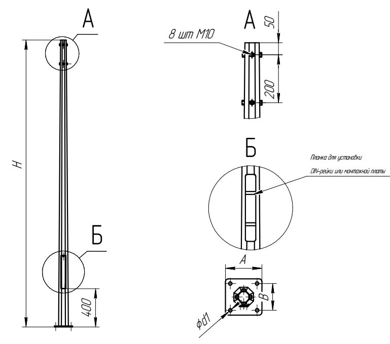
Опора тип 3