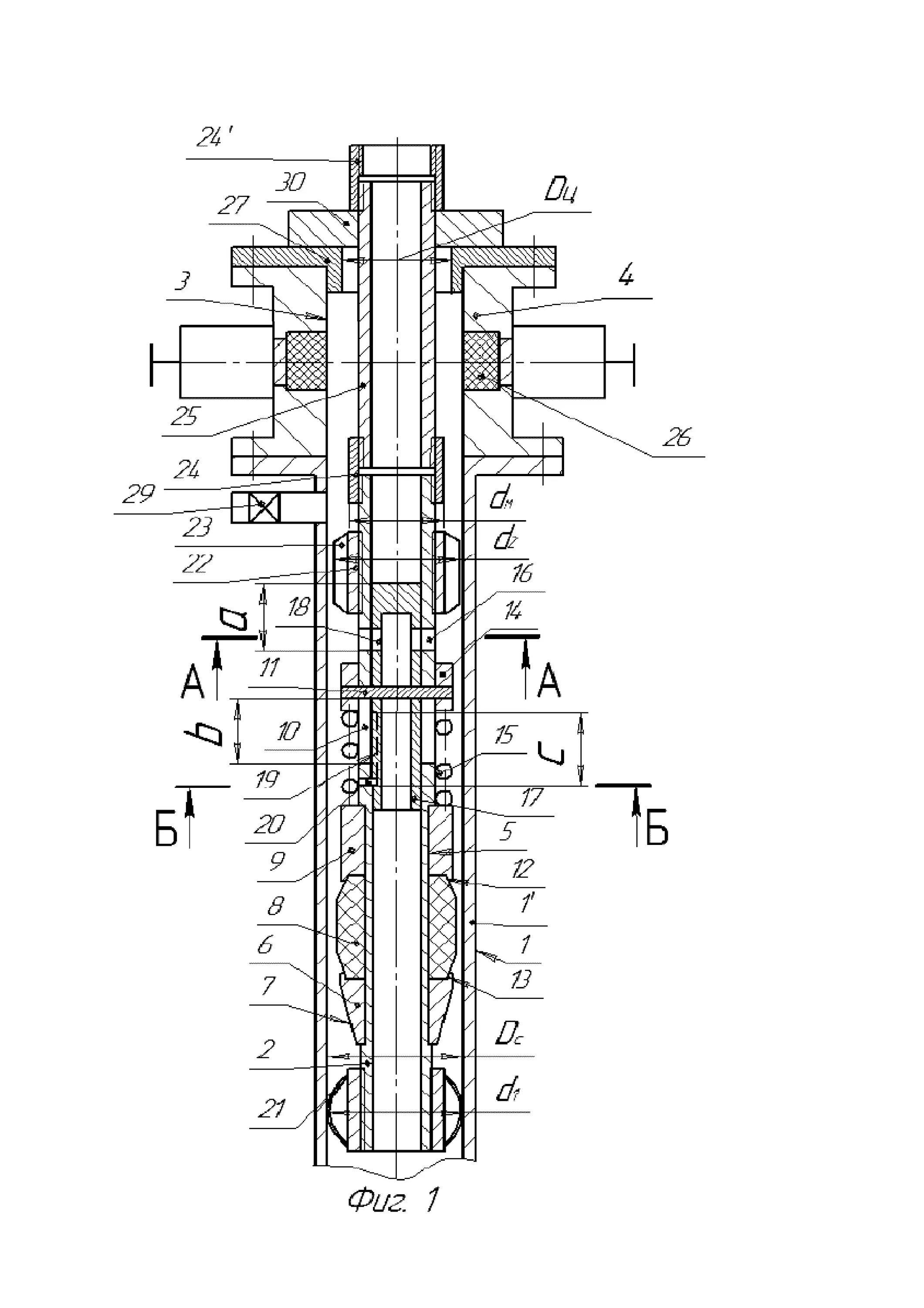
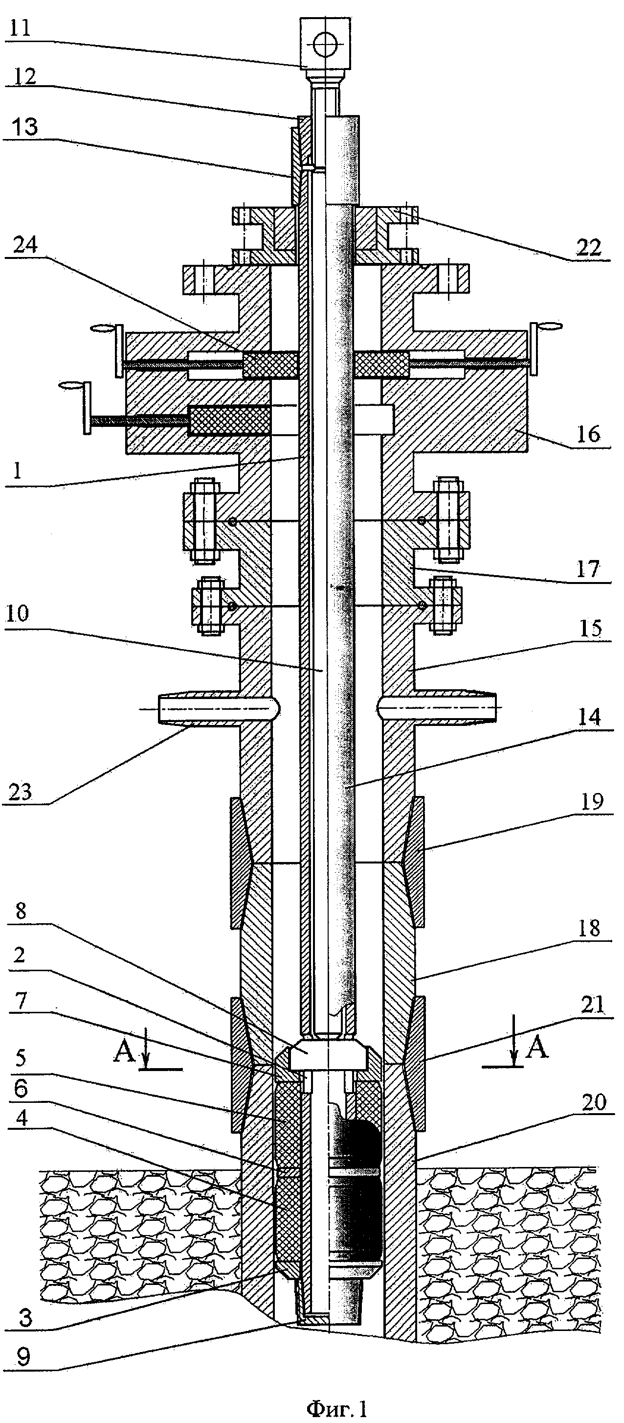
Опрессовка скважины давлением