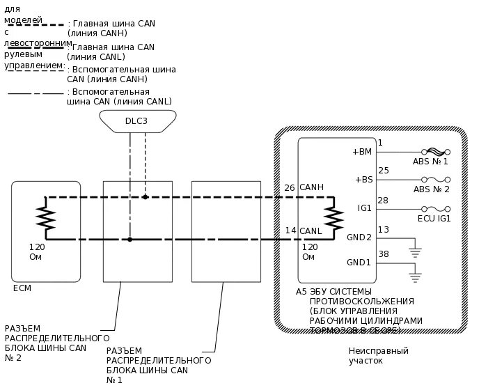
Ошибка по кан шине