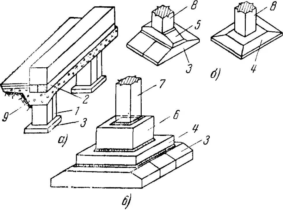
Основные элементы фундамента