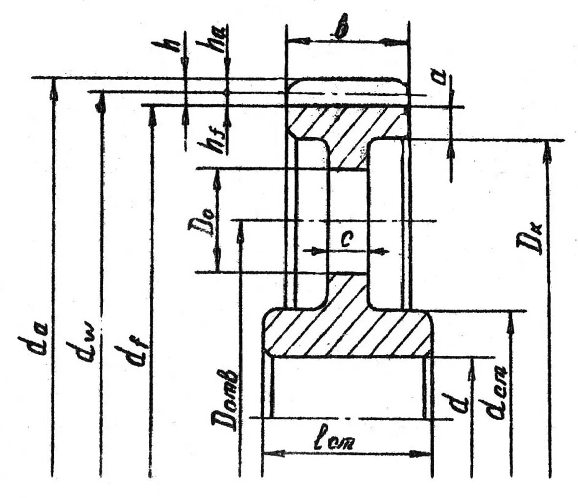
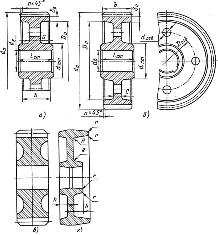
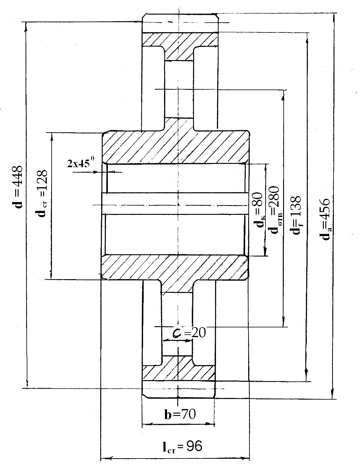
Основные размеры зубчатых колес