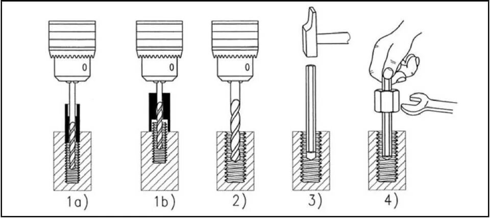
Открутить резьбу в какую сторону