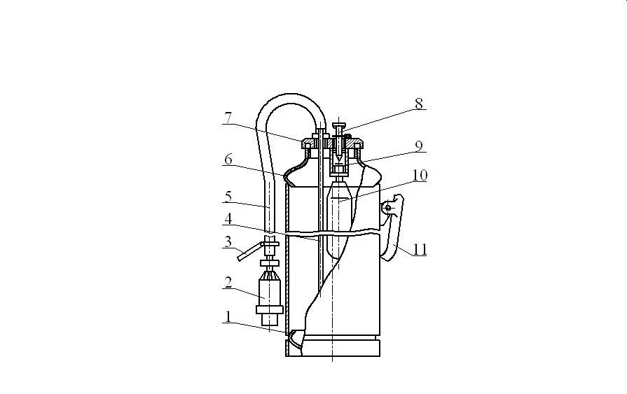
Овп 10