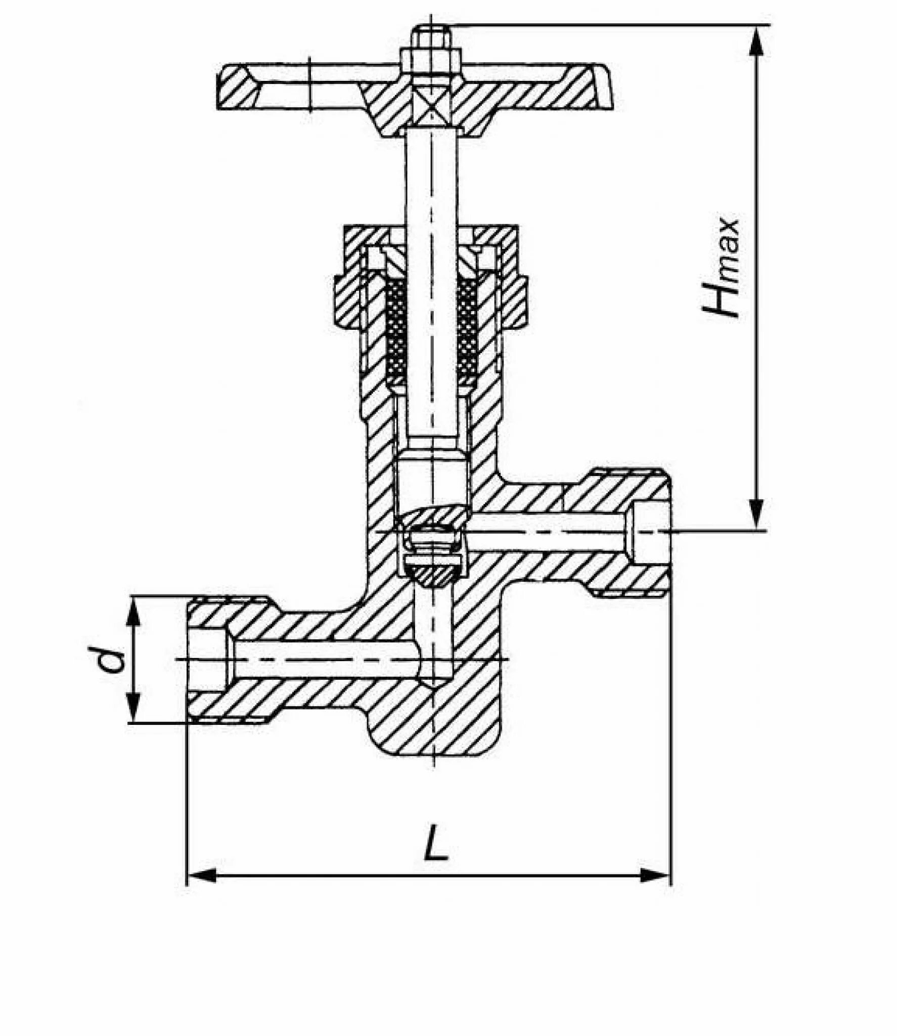
П 11 15