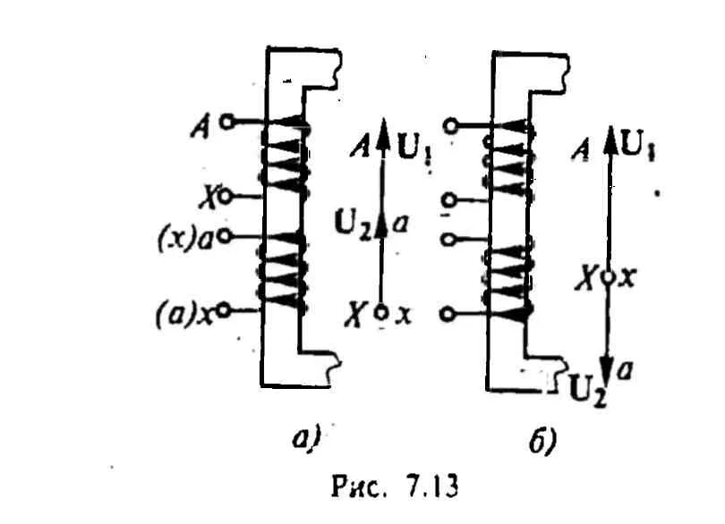
Параллельная работа трансформаторов тока