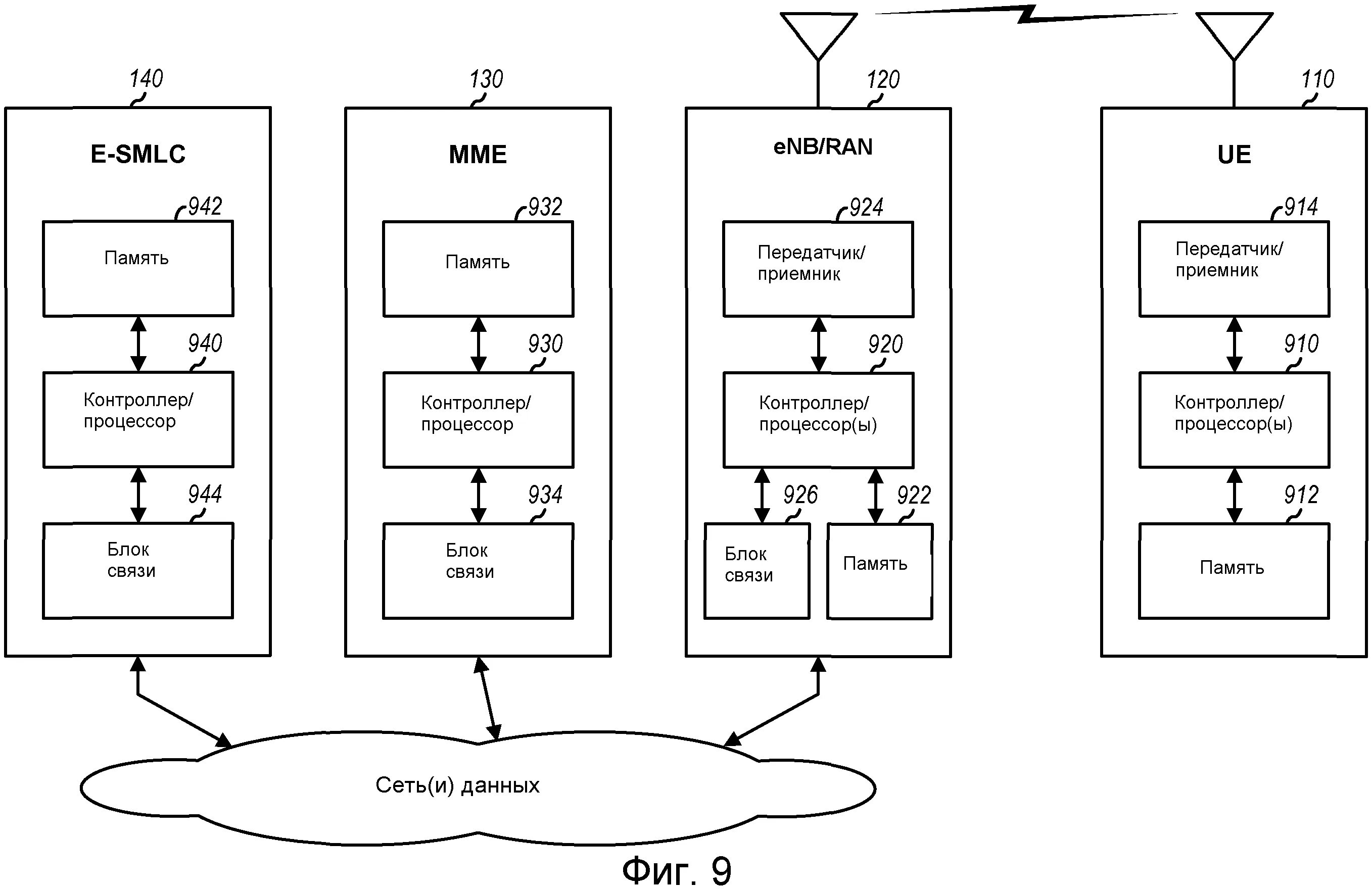
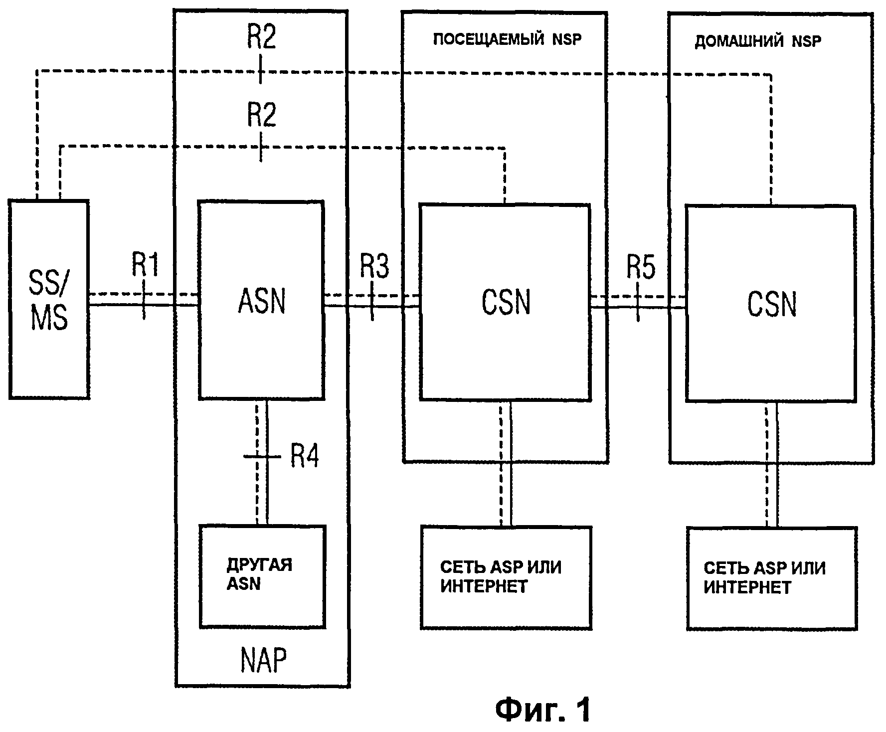
Передача сообщений c