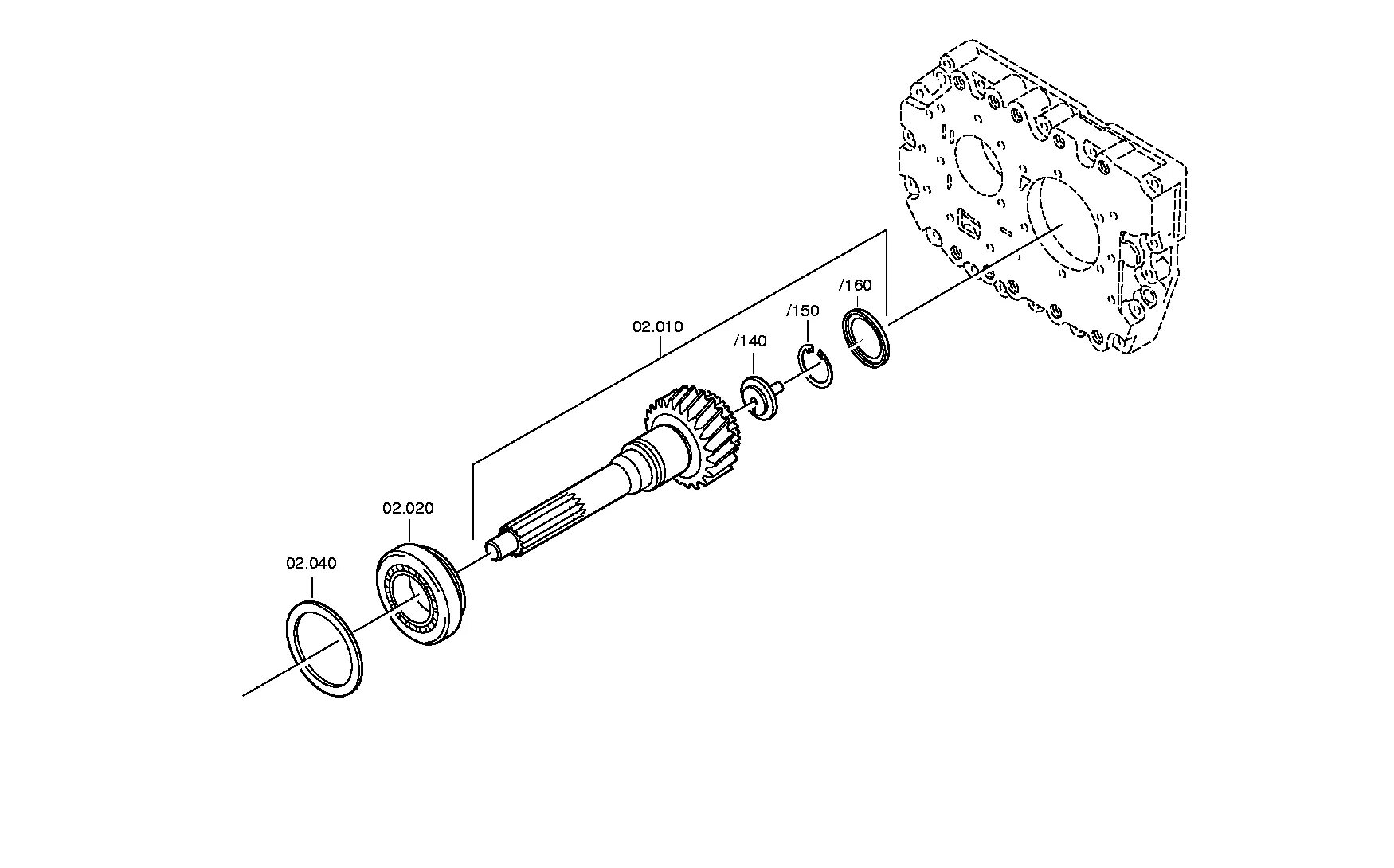
Первичный вал кпп zf