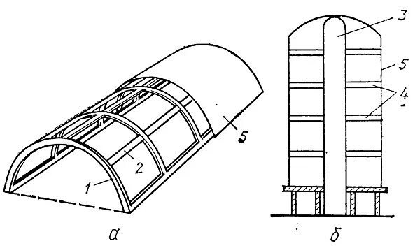
Пневматические конструкции