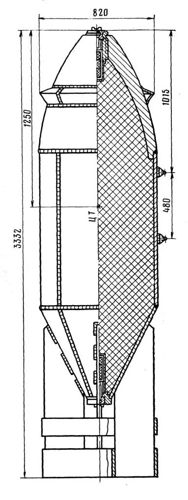
Почему фаб 3000