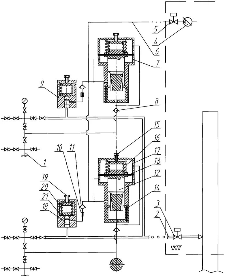
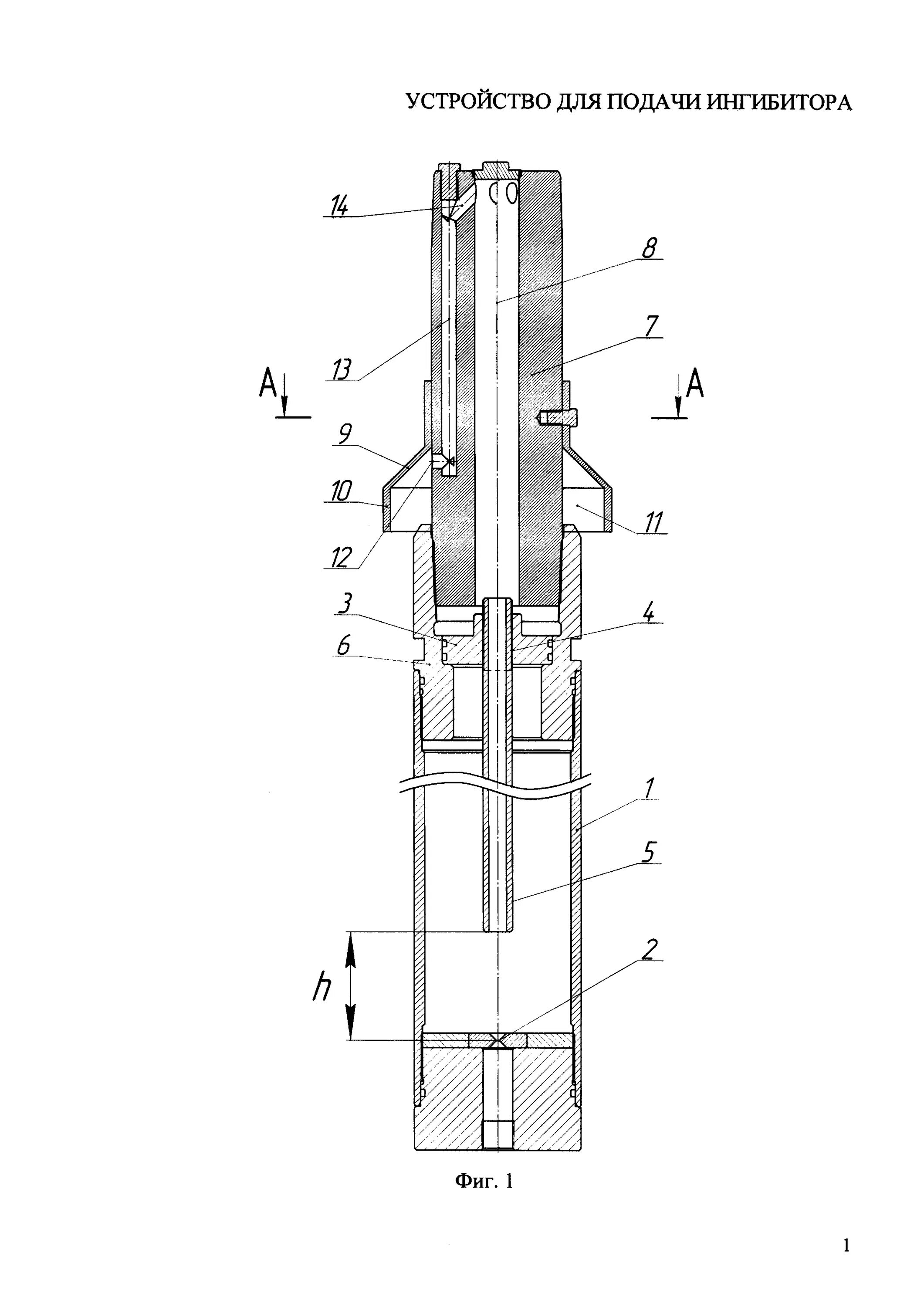
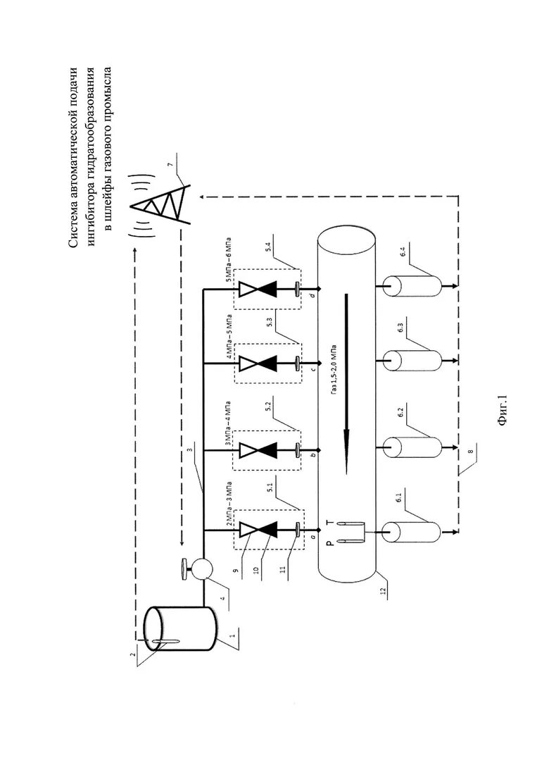
Подача ингибитора