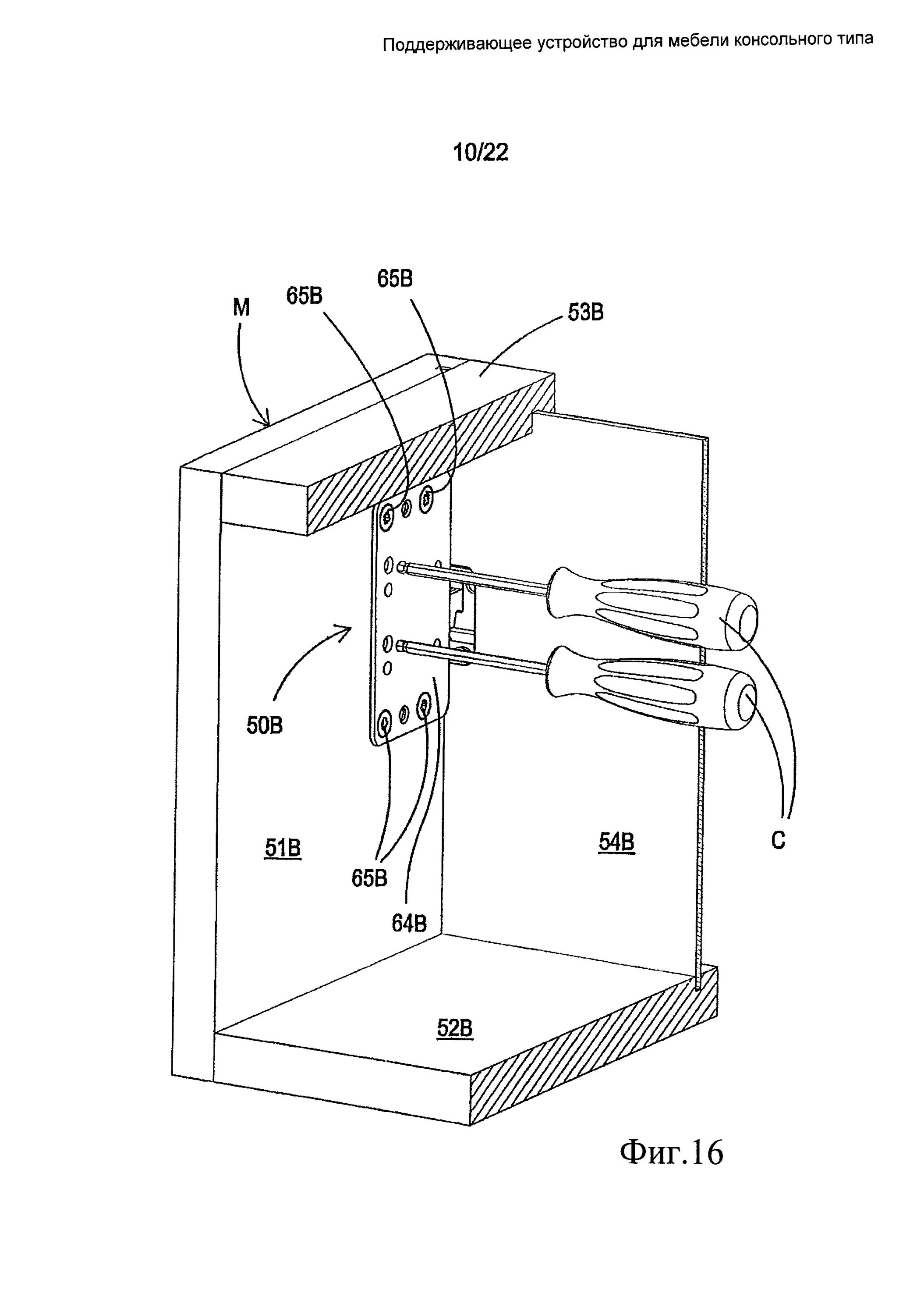
Поддерживающее устройство