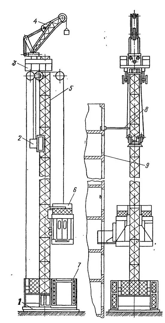
Подъемник тп