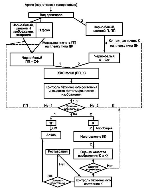
Подготовка к копированию