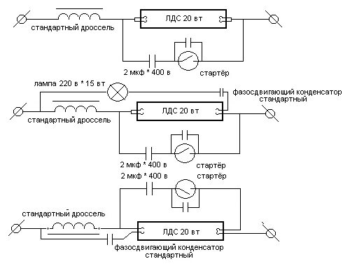
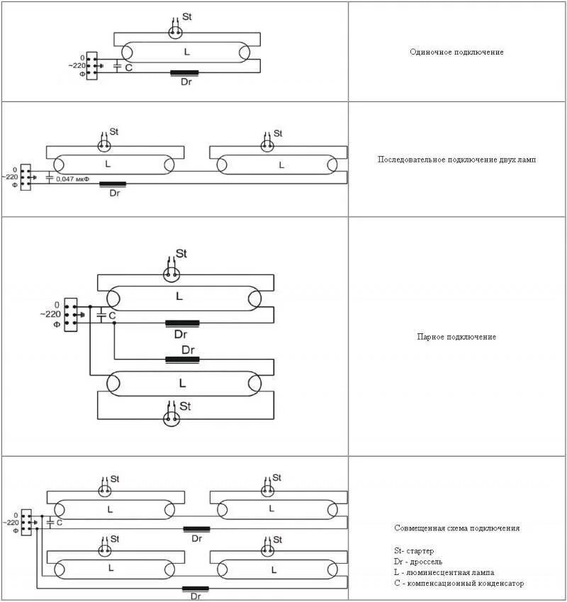
Подключить люминесцентную лампу схема