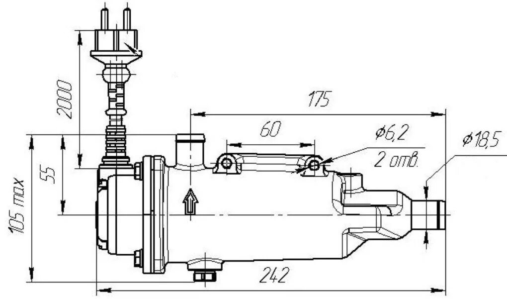
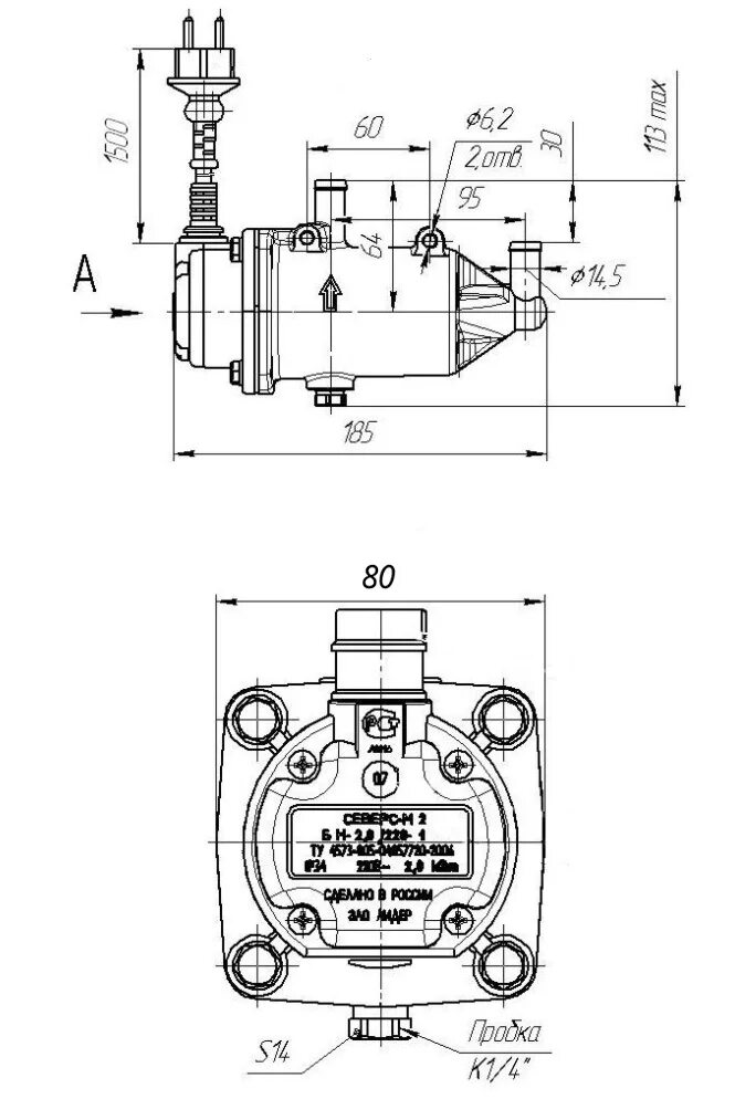
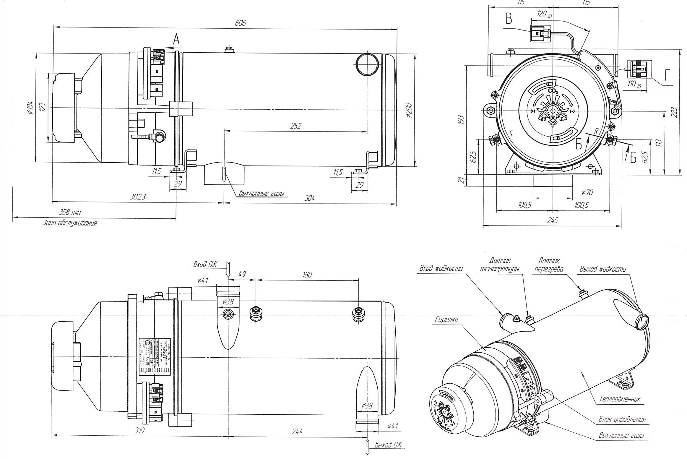
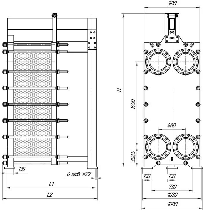
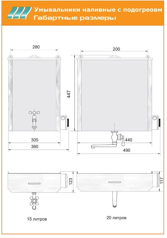
Подогрев размер