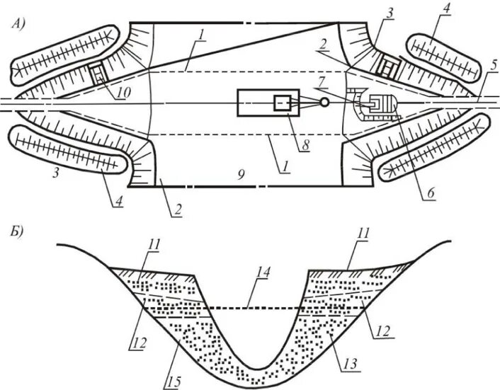
Подошва откоса