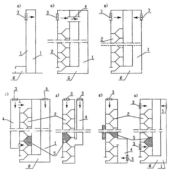
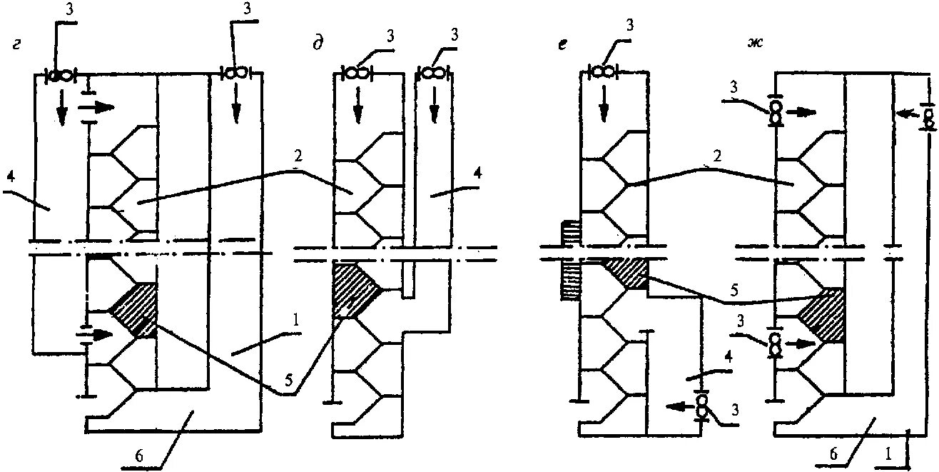
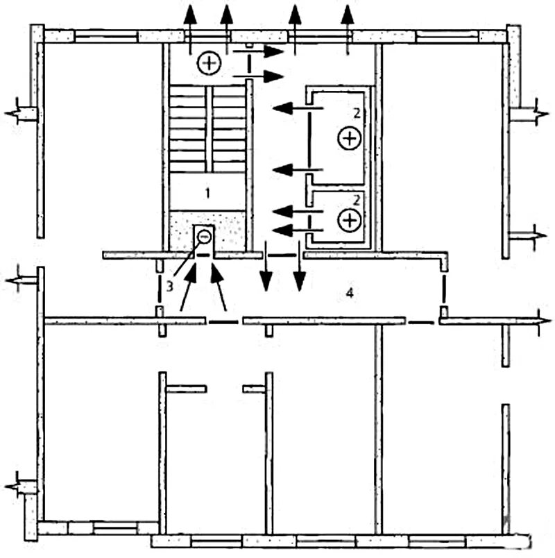
Подпор в лестничную клетку