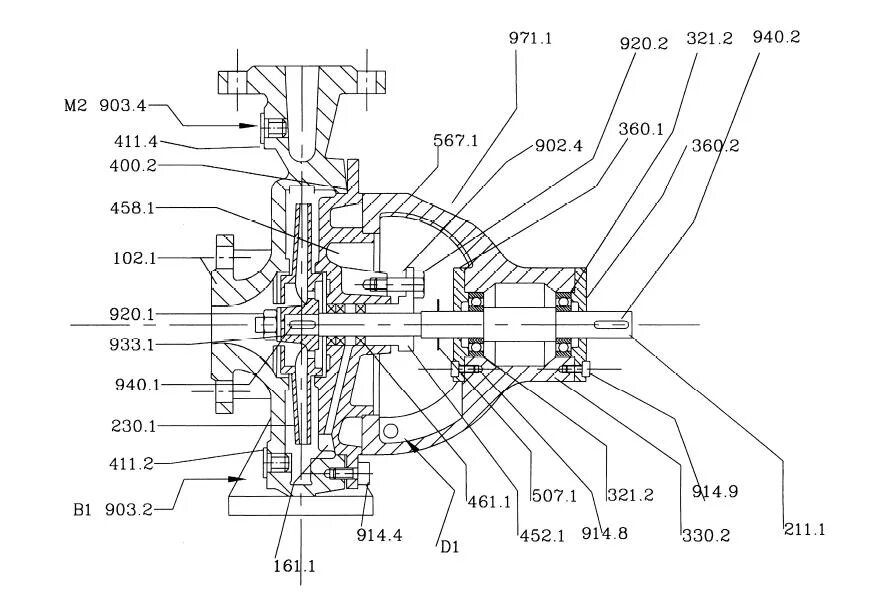
Подшипник цнс