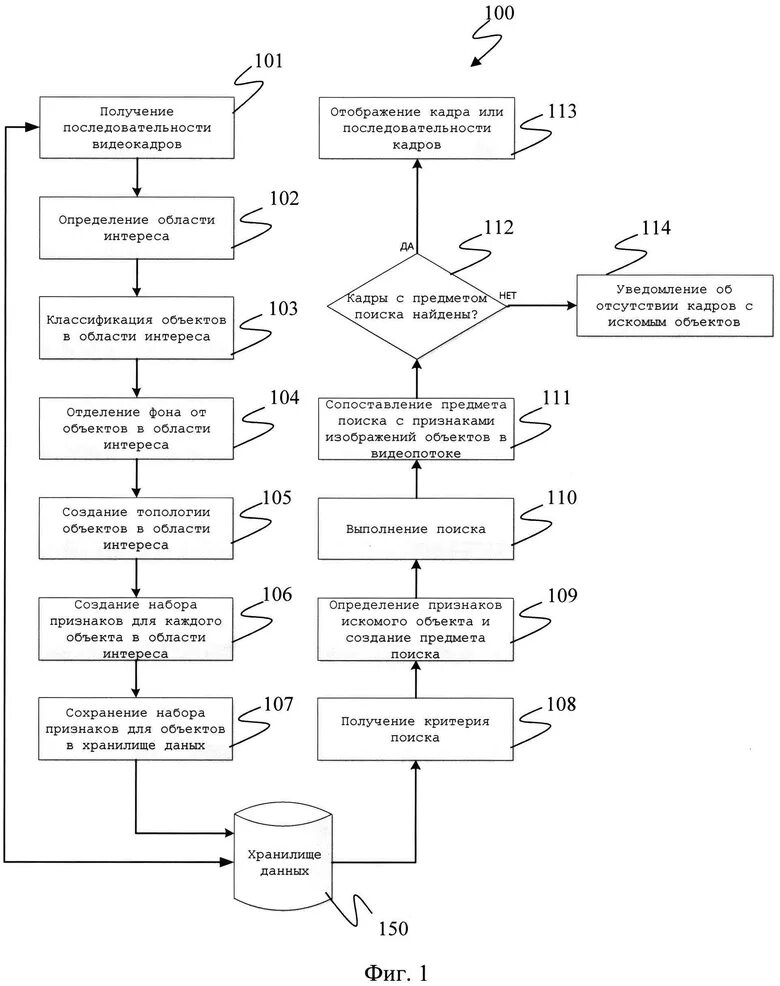
Поиск объекта