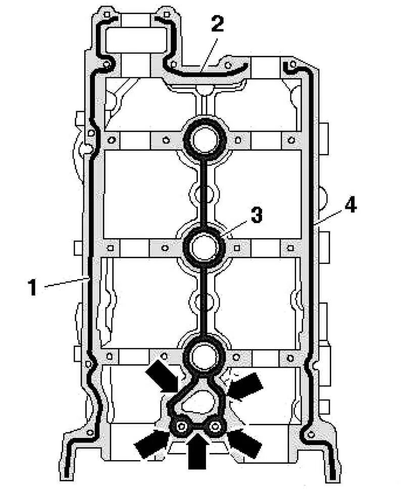
Порядок затяжки постели распредвалов 2112