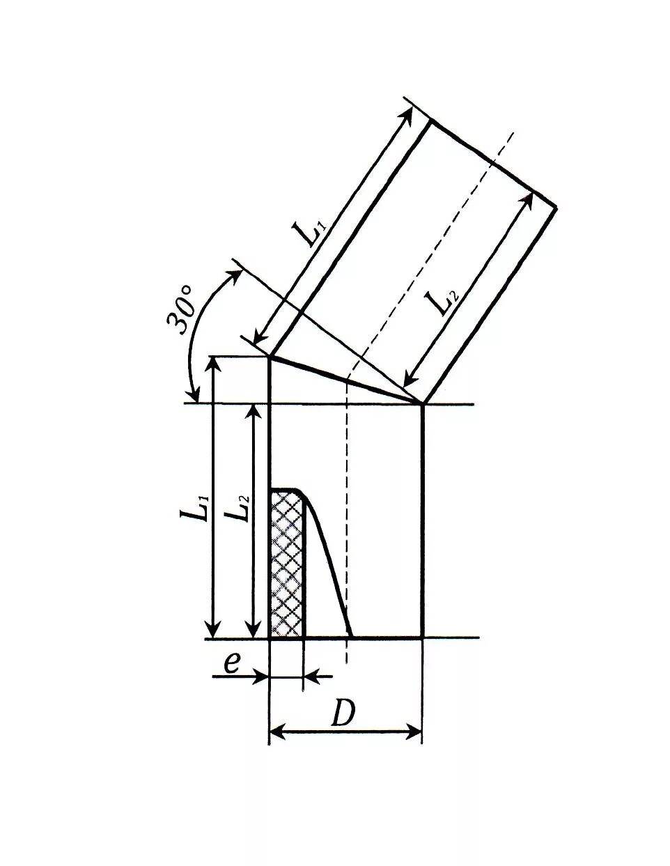
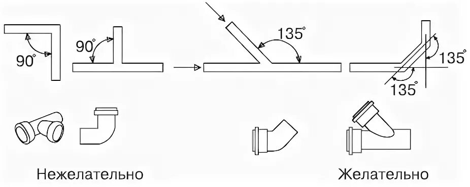
Поворот 45 градусов