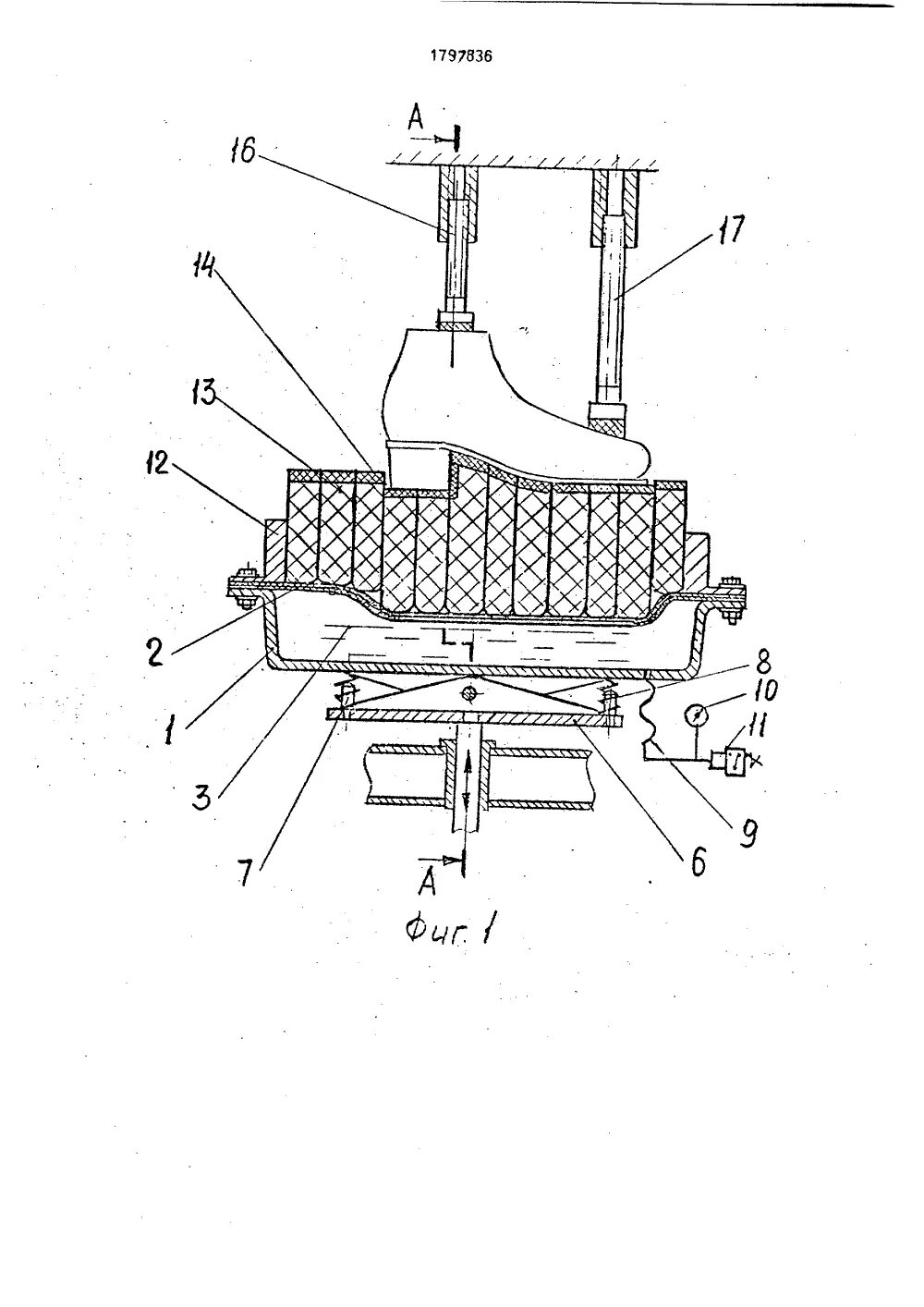
Пресс для подошвы