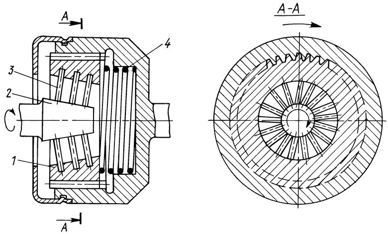
Принцип работы муфты генератора