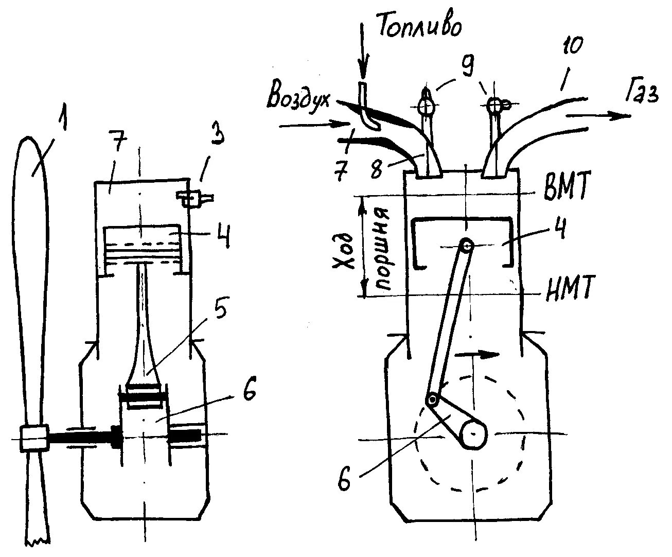
Принцип работы поршневого двигателя