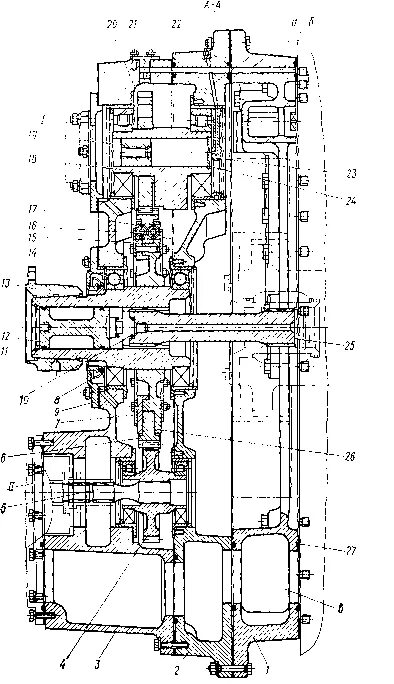
Привод насосов дизеля