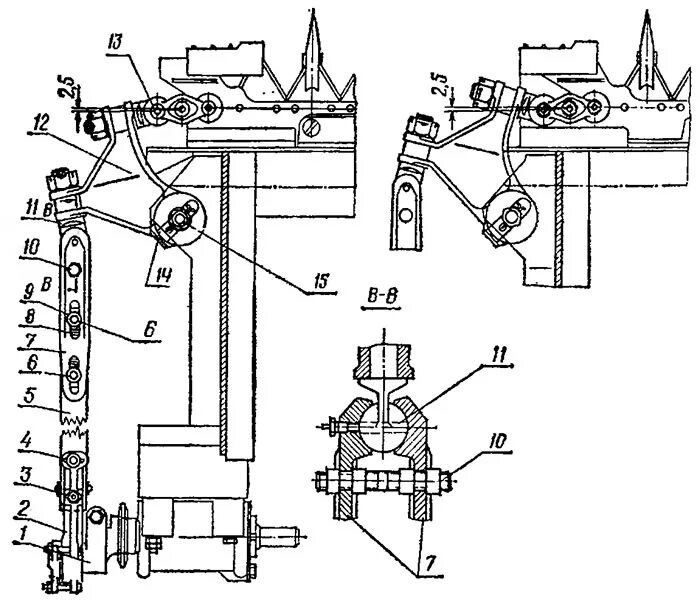
Приводы режущих аппаратов