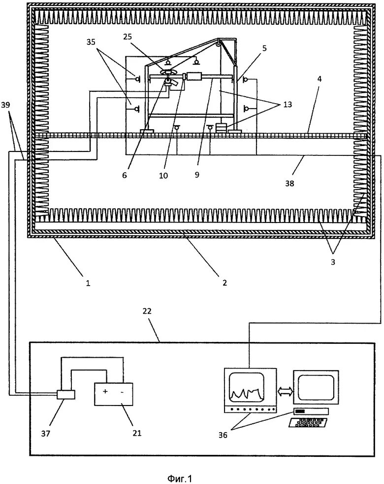
Проведение стендовых испытаний