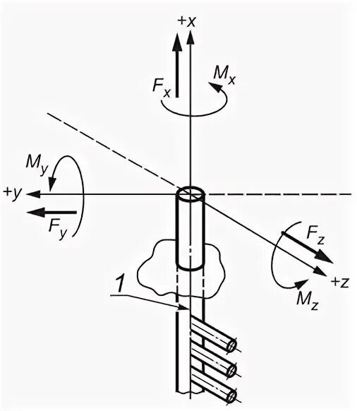
Прямолинейный участок трубы длиной 3 м