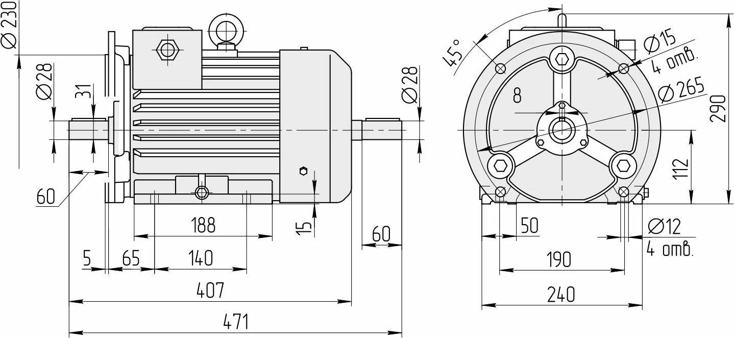
Пт 6 у3