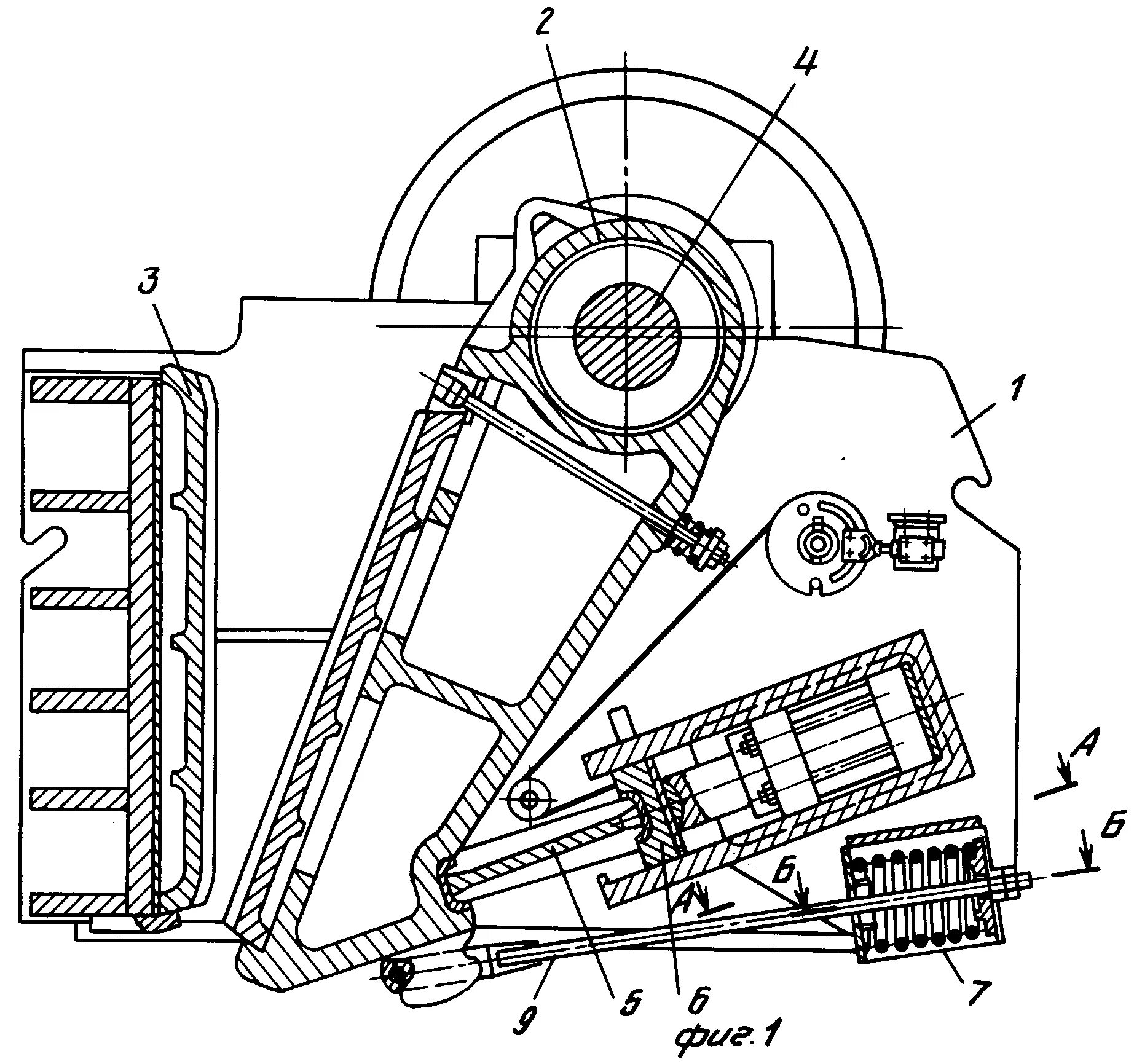
Работа дробилки щековой