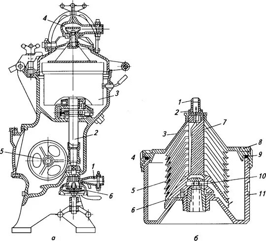
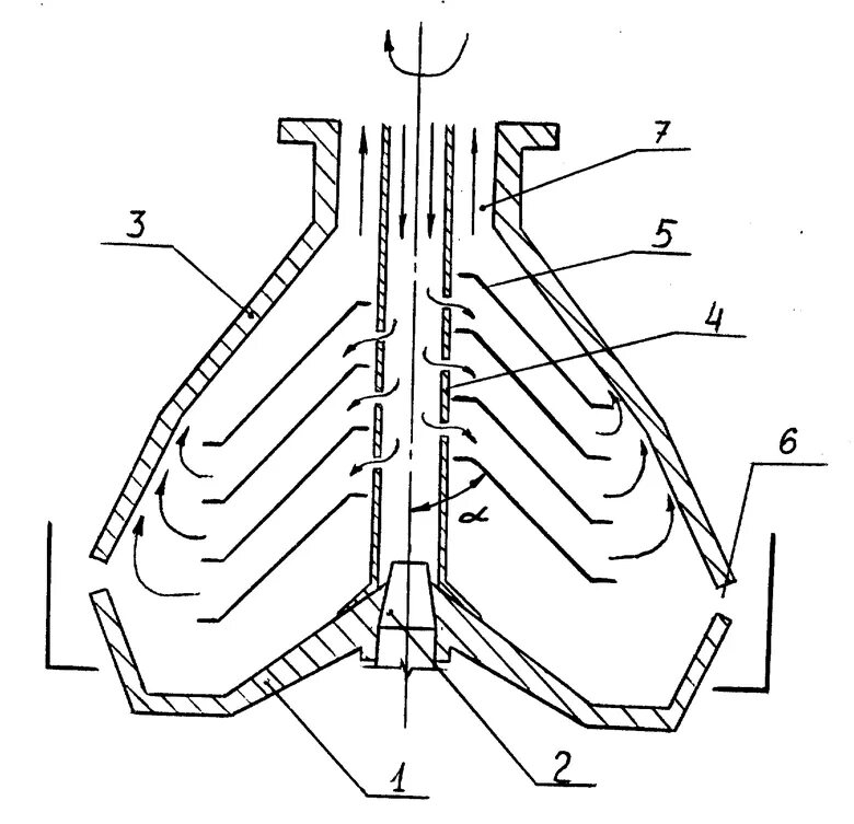
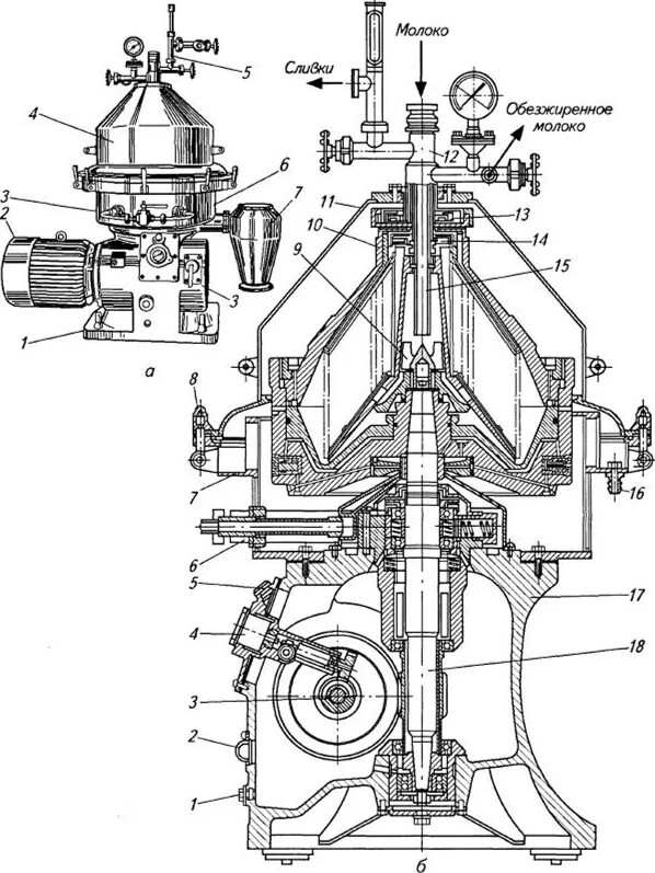
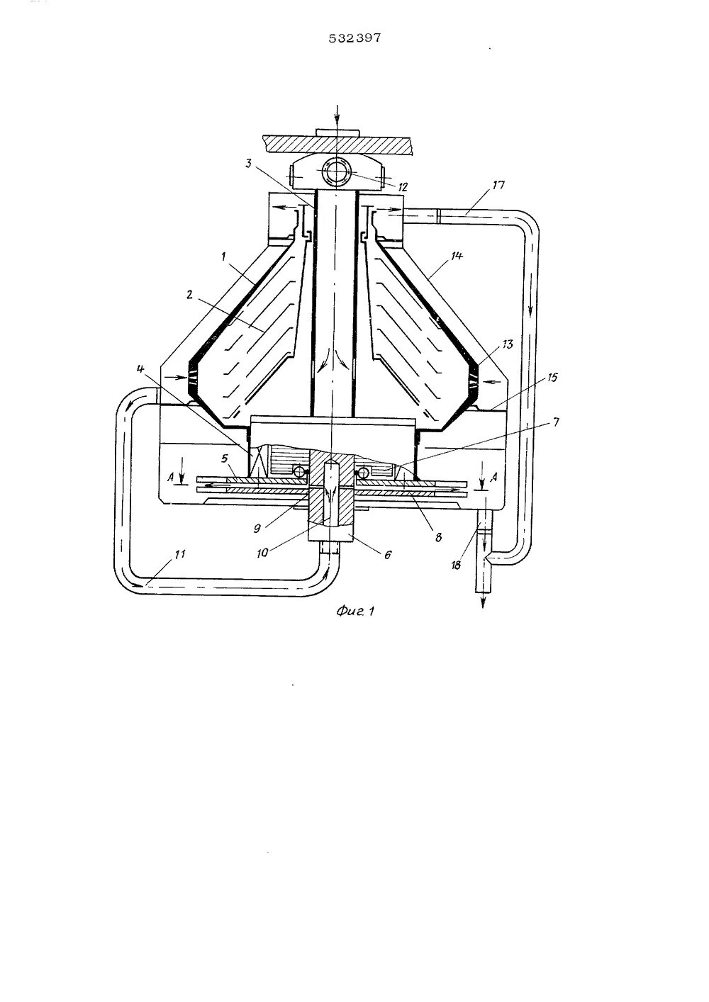
Работа сепаратора