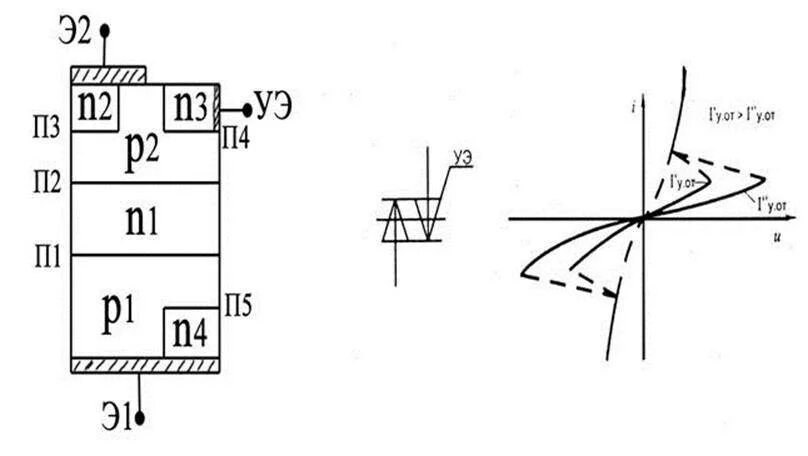
Работа симистора