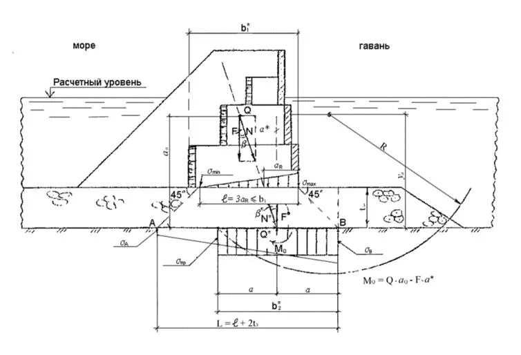
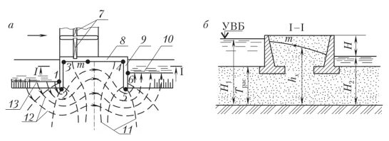
Расчеты гтс