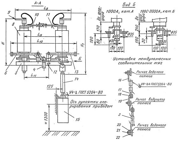
Разъединитель рндз 35