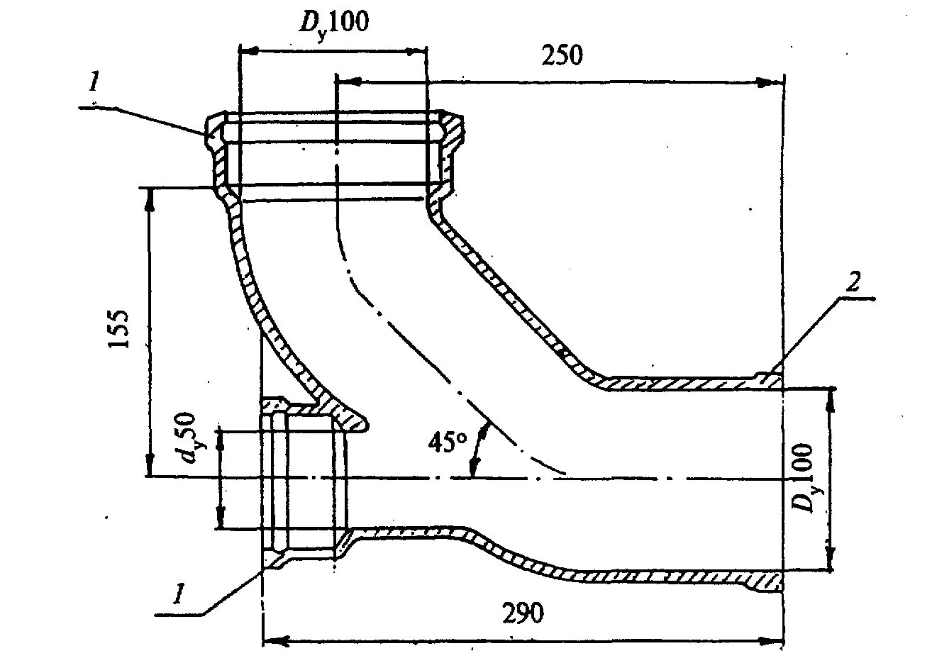
Размеры чугунных отводов