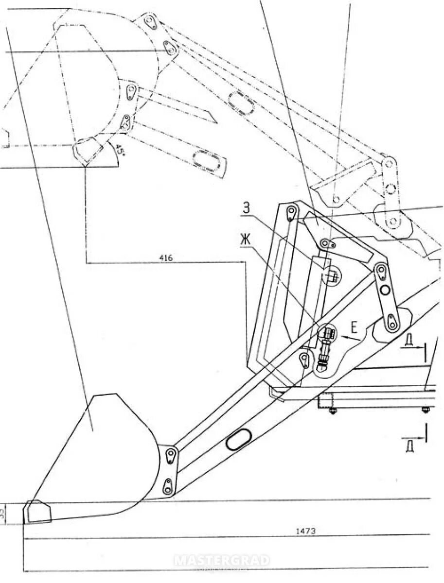
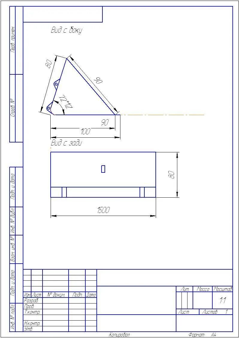
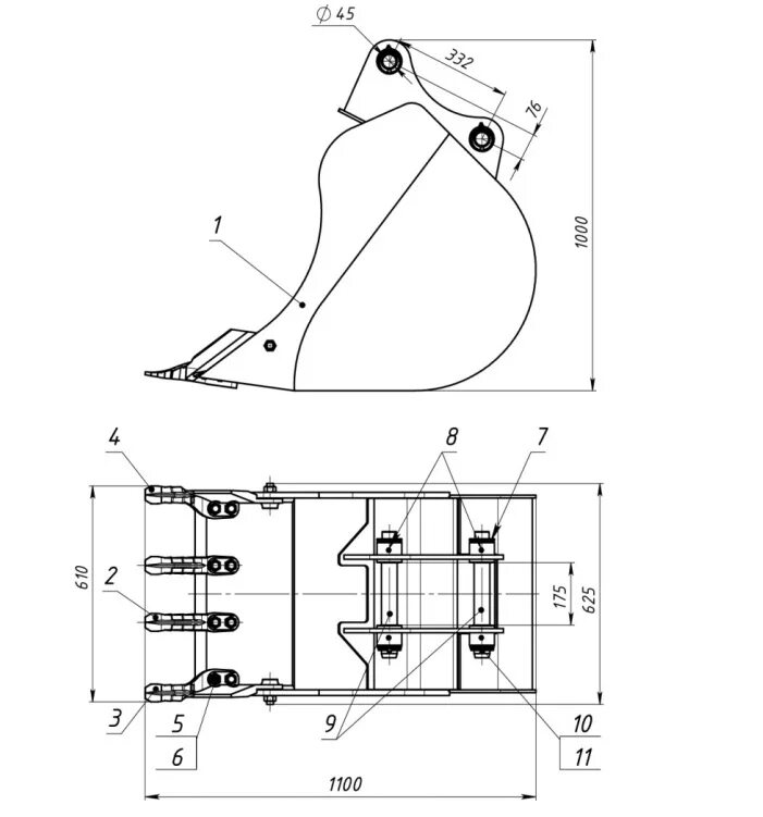
Размеры ковша на минитрактор