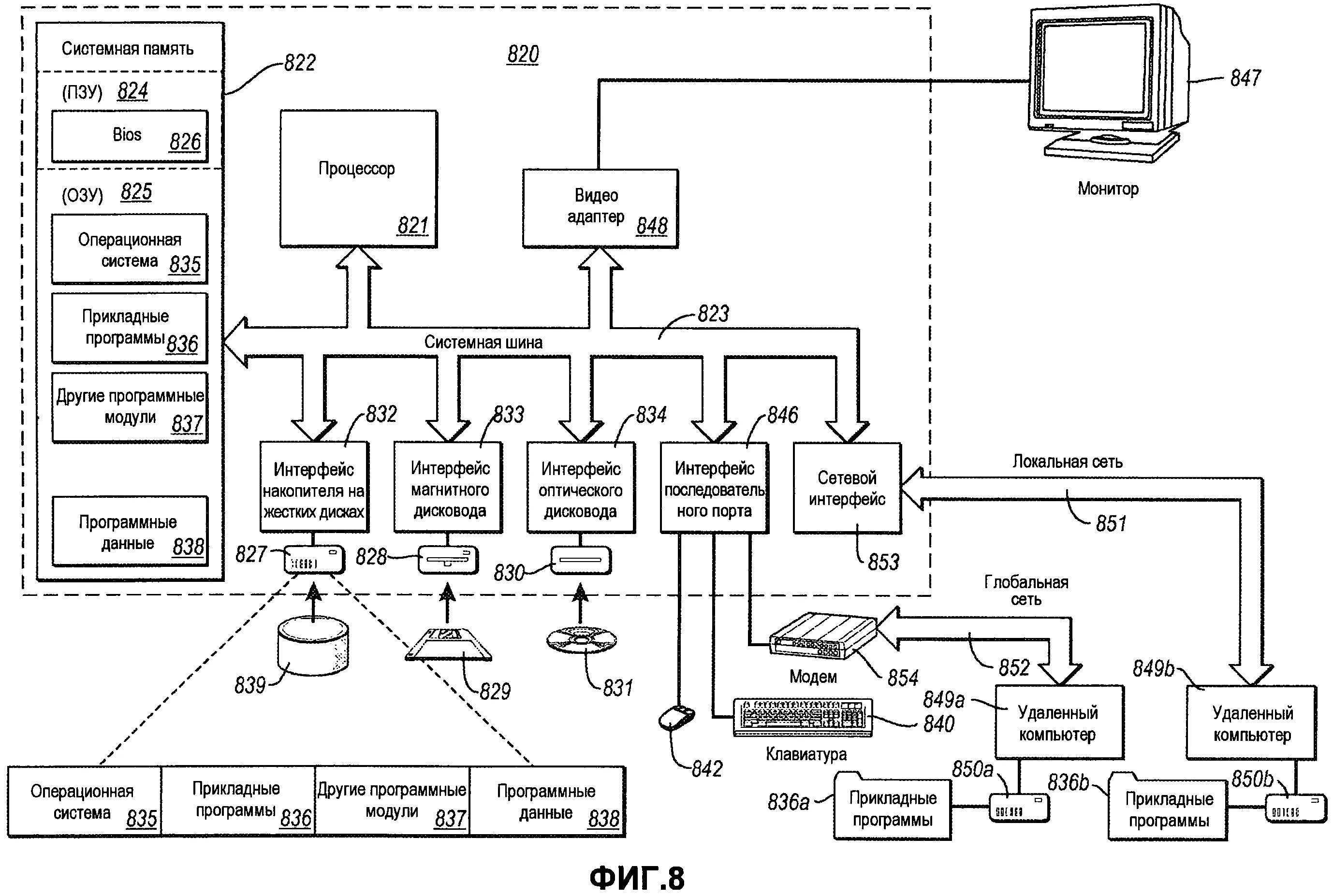
Разработка программных модулей для компьютерных систем