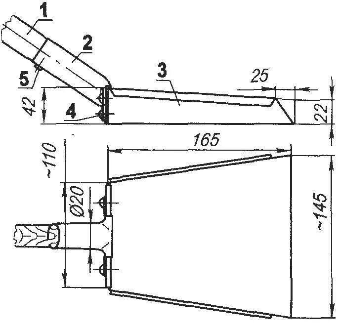
Развертка совка