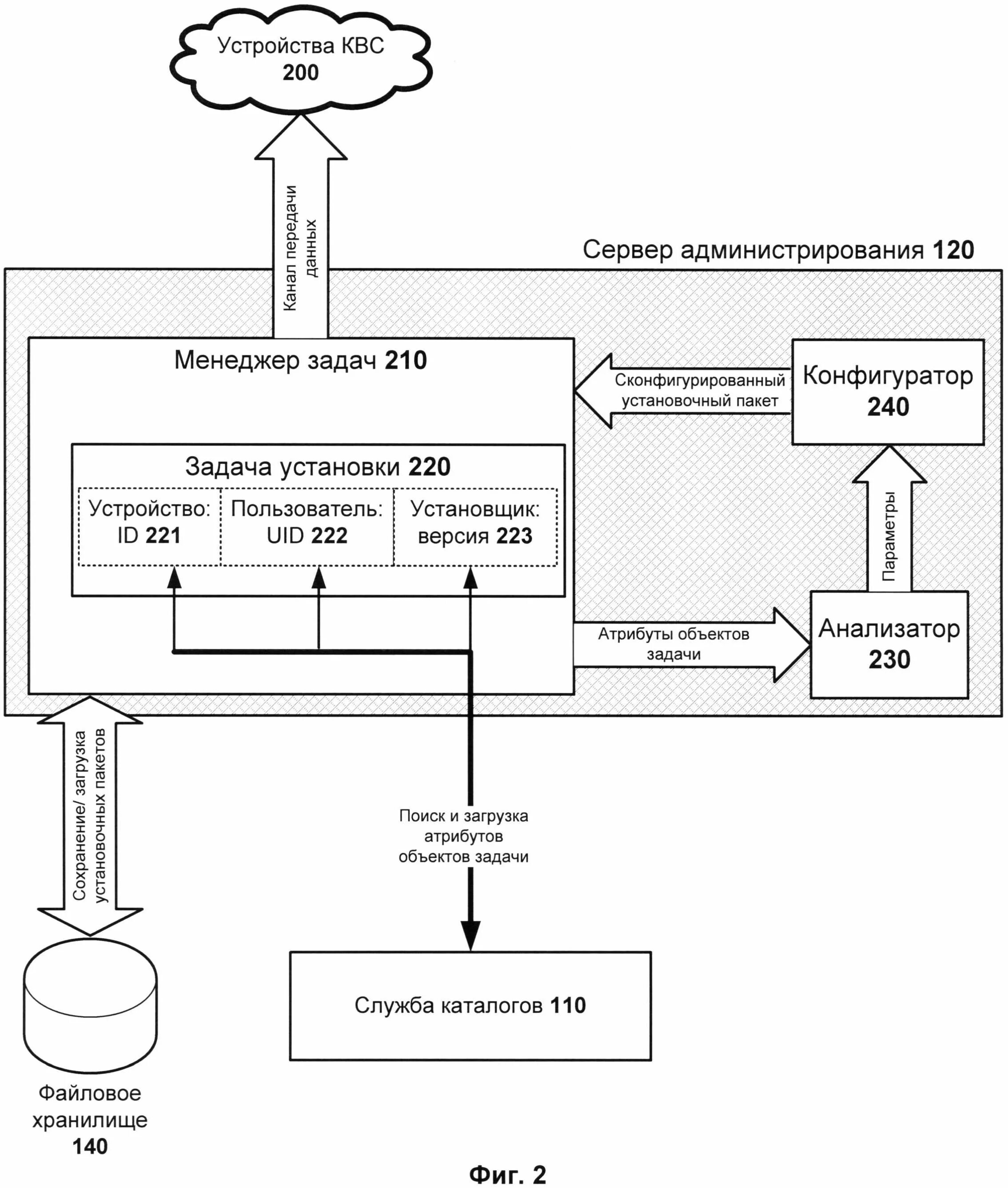
Развертывание программного обеспечения