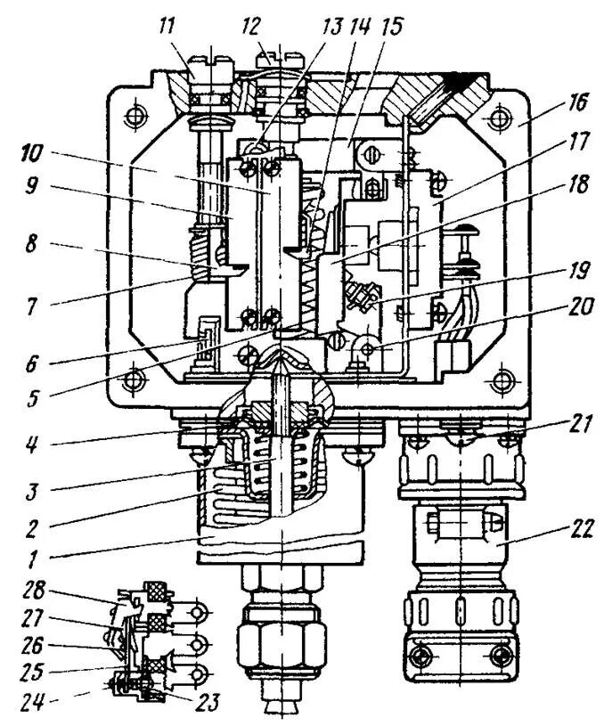
Регулировка рд