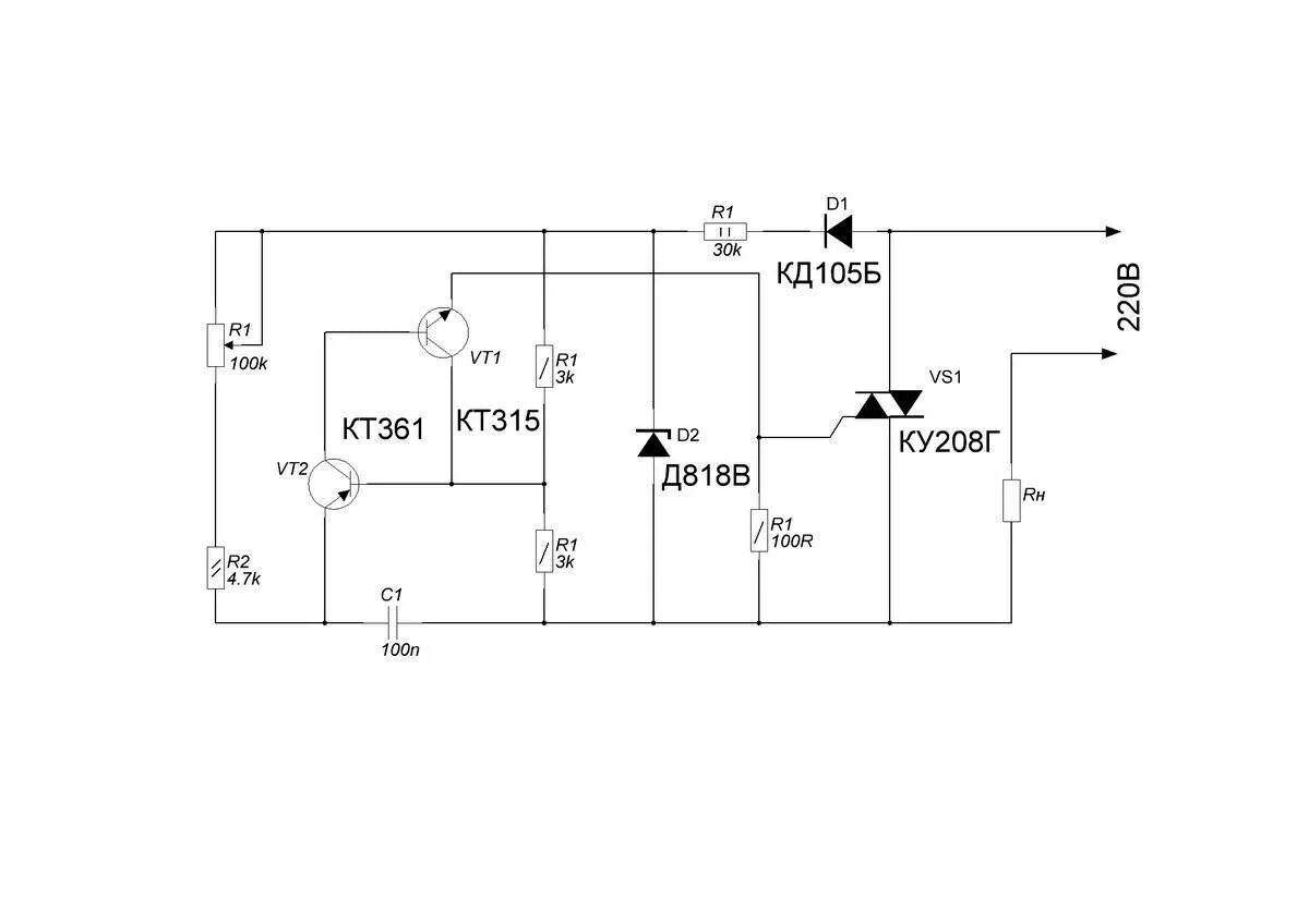
Регулировка симистора