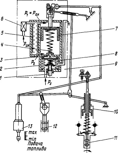
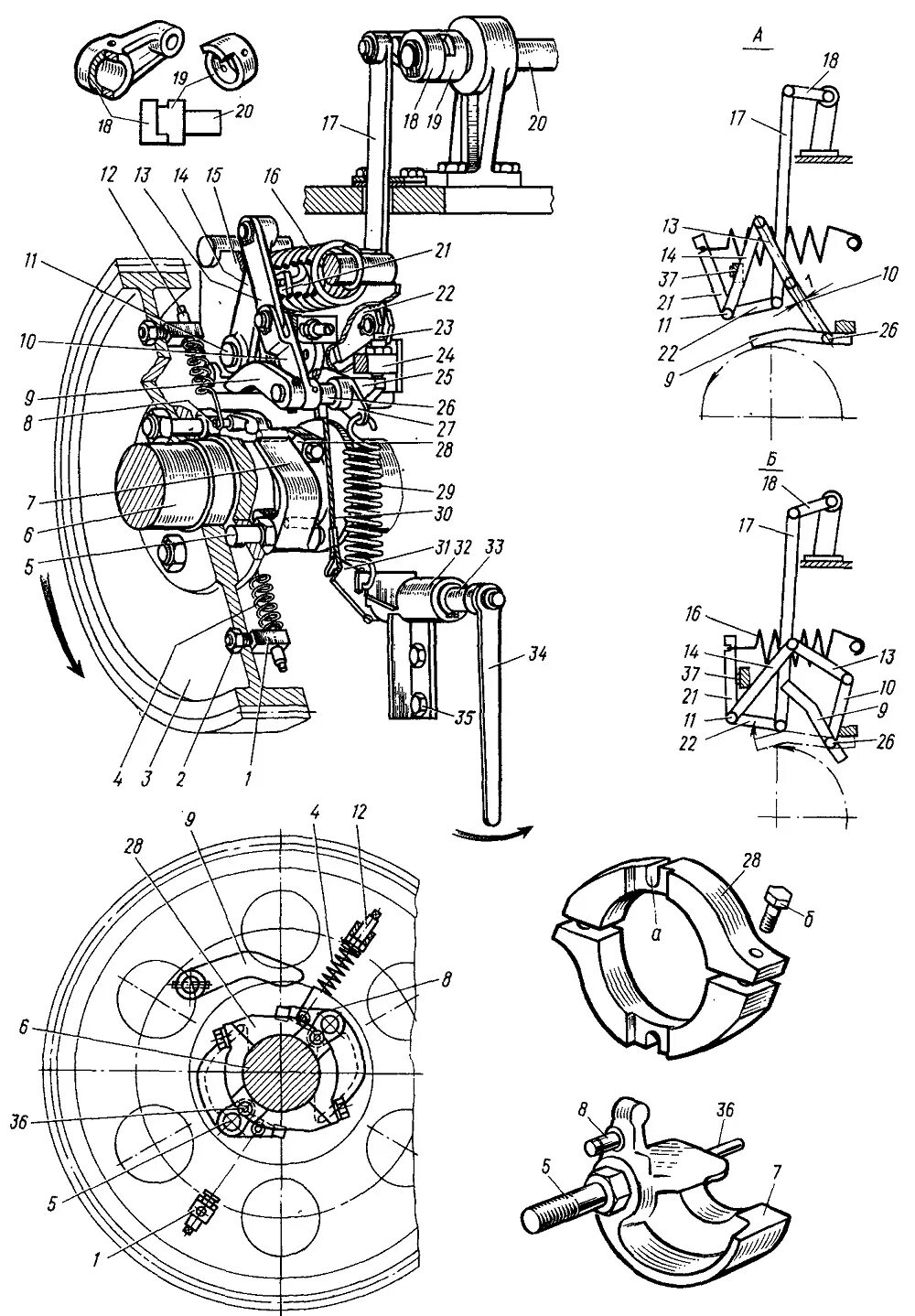
Регулятор дизеля