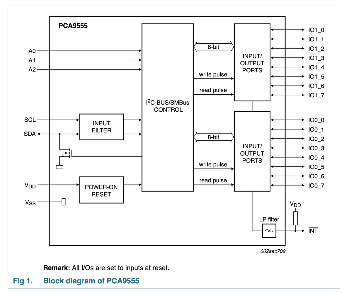
Reset block