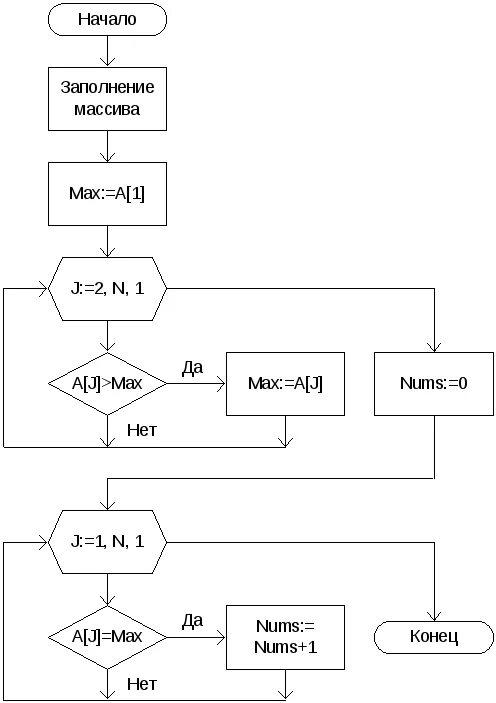
Reverse массива