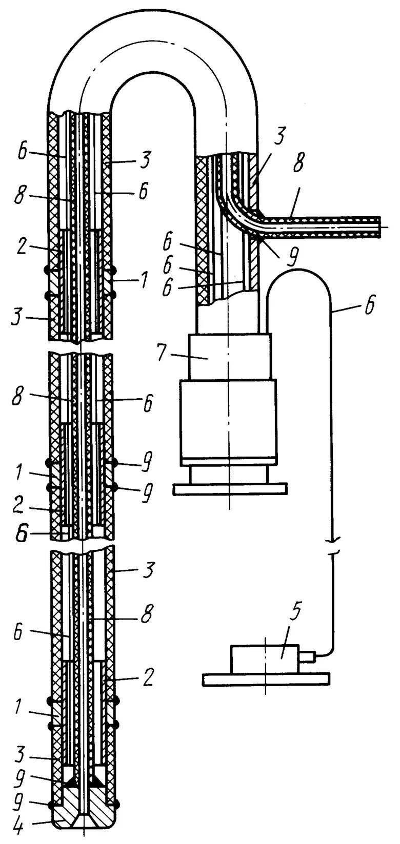
Рн зонд